Термопреобразователь сопротивления в корпусе для канального монтажа TRE.V60

Термопреобразователь сопротивления в корпусе для канального монтажа TRE.V60

Датчики температуры ELHART серии ТRE.V60 предназначены для измерения температуры воздуха в вентиляционных каналах систем вентиляции.

TRE.V60 изготавливаются с платиновыми чувствительными элементами Pt100 и Pt1000, с классом допуска B по ГОСТ 6651. Диапазон рабочих температур датчика составляет от −40 до +80 °С. Погружная длина измерительного зонда определяется при заказе и может изготавливаться длиной от 100 до 250 мм.

Ввод кабеля в корпус датчика осуществляется через сальниковый ввод PG7. Для подключения проводов датчик имеет винтовой клеммный разъем.

Модификации Где купить?

Датчик температуры TRE.V60-Pt1000-B3-L100
TRE.V60-Pt1000-B3-L100
  • Тип НСХ: Pt1000
  • Класс допуска: B
  • Схема соединений: 3-х проводная
  • Длина монтажной части: 100 мм
Датчик температуры TRE.V60-Pt1000-B3-L150
TRE.V60-Pt1000-B3-L150
  • Тип НСХ: Pt1000
  • Класс допуска: B
  • Схема соединений: 3-х проводная
  • Длина монтажной части: 150 мм
Датчик температуры TRE.V60-Pt1000-B3-L200
TRE.V60-Pt1000-B3-L200
  • Тип НСХ: Pt1000
  • Класс допуска: B
  • Схема соединений: 3-х проводная
  • Длина монтажной части: 200 мм
Датчик температуры TRE.V60-Pt1000-B3-L250
TRE.V60-Pt1000-B3-L250
  • Тип НСХ: Pt1000
  • Класс допуска: B
  • Схема соединений: 3-х проводная
  • Длина монтажной части: 250 мм
  • Технические характеристики термопреобразователя сопротивления TRE.V60
    Параметр Значение
    Номинальная статическая характеристика (НСХ) Pt100 (α=0,00385 °C -1)
    Pt1000 (α=0,00385 °C -1)
    (определяется при заказе)
    Диапазон измерения температуры -40…+80 °C
    Класс допуска В - ±(0,30+0,005·|t|) °C
    где |t| - значение температуры по модулю
    Время термической реакции (63,2%)* не более 35 с
    Электрическое сопротивление изоляции при температуре (25 ±10) °С* не менее 100 МОм
    Измерительный ток* не более 1 мА (для Pt100)
    не более 0,3 мА (для Pt1000)
    Степень защиты, обеспечиваемая оболочкой корпуса датчика** IP65
    Наружный диаметр кабеля 3,5…6 мм (кабельный ввод PG7)
    Схема внутренних соединений проводников 3-х проводная
    Сечение проводов не более 1,5 мм2
    Материал защитной гильзы нержавеющая сталь AISI 321 (12Х18Н10Т)
    Минимальная глубина погружения 60 мм
    Материал корпуса датчика ABS пластик
    Относительная влажность окружающего воздуха не более 95% (без образования конденсата)
    Средняя наработка на отказ не менее 40 000 час
    Срок службы не менее 10 лет

    * — согласно ГОСТ 6651.

    ** — согласно ГОСТ 14254.

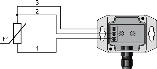
  • Схема соединения термопреобразователя сопротивления TRE.V60
    Схемы соединения внутренних проводов термопреобразователя TRE.V60
    Схема соединения внутренних проводов термопреобразователя TRE.V60
  • Габаритные размеры термопреобразователя сопротивления TRE.V60
    Габаритные размеры термопреобразователя TRE.V60, мм
    Габаритные размеры термопреобразователя TRE.V60, мм